Recently, Huawei, Changhong, Konka, Zhaochi Semiconductor, and Xiamen University have successively announced Micro LED invention patents, which involve improving Micro LED light efficiency, improving mass transfer efficiency, and Micro LED screen fingerprint recognition applications.
Huawei: Applying for a patent for Micro LED display panel, which can increase the light-emitting area and improve light efficiency
According to an announcement from the State Intellectual Property Office, Huawei Technologies Co., Ltd. applied for a project called “A Micro LED display panel, display equipment and manufacturing method”, Publication No.: CN117690946A, and the application date is September 2022. This solution can increase the area of the light-emitting area and improve the light efficiency. There is no need for huge transfers and the pass rate is improved. Prevent optical crosstalk and facilitate uniform current distribution.
Image source: State Intellectual Property Office
The specific patent abstract is as follows: This application discloses a Micro LED display panel, display device and manufacturing method, including multiple display structures. Each display structure includes: a first electrode, a second electrode, a first semiconductor layer, a second The semiconductor layer and the light-emitting layer; the first electrode, the first semiconductor layer and the light-emitting layer of the adjacent display structure are independent of each other; the first semiconductor layer and the second semiconductor layer are respectively located on both sides of the light-emitting layer; the first electrode is located on the first The side of the semiconductor layer facing away from the light-emitting layer, the second electrode is located on the side of the second semiconductor layer facing away from the light-emitting layer; the light-emitting layer of each display structure corresponds to a pixel area; the second electrode is wired around each pixel area, and the second electrode It is the common electrode of each pixel area and is the metal barrier between adjacent pixel areas.
Changhong Electronics: Published two Micro LED invention patents
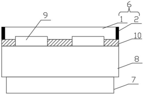
On March 12, Changhong Electronics and Chiruike Technology announced the invention patent for “Micro LED surface structure and preparation method”, application publication number: CN117693216A.
Image source: State Intellectual Property Office
In order to improve the quantum dot light extraction efficiency and collimation effect, the patent provides a Micro LED surface structure and preparation method by constructing a metal nanoring structure on the surface of the Micro LED chip. When the nanoring structural parameters match the wavelength of the central quantum dot light, It will produce a strong collimation effect, which can realize the directional collimation function of emitted light; the bottom metal reflector collects the light emitted downward by the quantum dot light source and reflects it to the chip’s luminous direction, increasing the number of photons in the luminous direction, thus greatly increasing the It improves the light extraction efficiency of quantum dot Micro LED chips in the vertical direction.
In addition, on March 15, Changhong Electronics and Qirike Technology jointly disclosed an invention patent called “A Micro LED-based screen fingerprint identification device and method”, application publication number: CN117711037A.
Image source: State Intellectual Property Office
In order to solve the problem that the current Micro LED screen fingerprint recognition requires the installation of additional sensors, resulting in additional optical port ratios, and the problem that the user needs to touch a designated area to unlock, which is not easy to operate;
This patented invention provides a fingerprint identification device based on a Micro LED screen. When the fingerprint identification function is required, the touch sensing module confirms the pressing position of the finger. The first LED chip under the finger is used as the light source for fingerprint identification, and the second LED chip The connected pixel drive circuit measures the voltage difference of the photocurrent generated by the light emitted by the first LED chip on the second LED chip through the reflected light at the ridges and depressions of the fingerprint, and determines the shape of the fingerprint; the fingerprint recognition function is completed, and the Micro LED screen Return to normal display state.
Konka: Micro LED protective film, structure, display device and electronic equipment
On March 12, Shenzhen Konka Electronic Technology Co., Ltd.’s invention patent for “Micro LED protective film, Micro LED structure, display device and electronic equipment” entered the authorization stage.
This patented invention uses light-absorbing materials at the edge of the semi-permeable membrane to absorb light at large angles, effectively improving the problem of bright lines in splicing seams.
Image source: State Intellectual Property Office
The specific patent abstract is as follows: The invention discloses a Micro LED protective film, Micro LED structure, display device and electronic equipment. The Micro LED protective film includes a light-absorbing material and a single-layer semi-permeable film or a composite layer semi-permeable film. The single-layer semi-permeable film The edge of the transparent film is surrounded by light-absorbing material. The composite layer semi-permeable film includes multiple layers of semi-permeable films with the same or different refractive index stacked sequentially from the inside to the outside. The edge of the composite layer semi-permeable film is surrounded by light-absorbing material.
Zhaochi Semiconductor: A Micro LED mass transfer method
On March 15, Zhaochi Semiconductor’s invention patent “A Micro LED mass transfer method” was announced, with application publication number CN117712241A. This technology does not require high-precision design, can perform adhesion transfer according to different chip heights, can increase the transfer rate, and ensure a high transfer yield.
Image source: State Intellectual Property Office
The specific patent abstract is as follows: The present invention provides a Micro LED mass transfer method, which includes the following steps: providing a substrate, and preparing chips on the substrate; providing a substrate, and setting a bonding film on one side of the substrate; Temporarily bonding with the substrate; peeling off the substrate of the chip; setting a pillar on the side of the chip away from the substrate; providing a transfer head, attaching the third adhesive part of the transfer head to the pillar, so as to base on each pillar The height difference is such that multiple first chips, second chips, or third chips are simultaneously transferred from the substrate to the circuit board. By using light-curing resin, chip bases of different heights are selectively cured, and the viscosity between the chip and the substrate is reduced based on the light of UV debonding glue. Finally, the chips are transferred in batches based on a high-viscosity transfer head.
Xiamen University: Improving Micro LED light extraction efficiency
On March 15, Xiamen University announced an invention patent titled “A Micro LED device structure and manufacturing method that improves light extraction efficiency.” Application publication number: CN117712263A. This invention improves the distribution of current in the device by reducing the difference in current density and improving the mobility of electrons in the material, reducing the current density and slowing down the current crowding effect. This greatly improves device performance.
Image source: State Intellectual Property Office
Specifically, the invention discloses a Micro LED device structure and manufacturing method that improves light extraction efficiency. The epitaxial layer of the structure includes n-GaN layer, MQW and p-GaN layer in order from the back to the front, and is formed by The front side is etched to the n-GaN layer to form a light-emitting mesa. The first current expansion layer is provided on the p-GaN layer of the light-emitting mesa. The p electrode and the n electrode are respectively provided on the first current expansion layer and n-GaN layer. The passivation layer , reflective layer and insulating layer cover the front side of the device structure in order. The p electrode and n electrode are respectively led out through the bonding metal that penetrates the passivation layer, reflective layer and insulating layer; the n-GaN layer is etched to form several vias in the light-emitting mesa area, hole, and the second current spreading layer is filled in the through hole.


































































































