On February 9th, the website of Sky Eye Check shows that on, NationStar and Huawei published their new patents. NationStar applied for a patent named “a gallium nitride device drive chip and drive method”, and Huawei applied for a patent named “optical passive module, optical module and communication equipment”.
NationStar applied for a patent “gallium nitride device drives chip and drive method”.
The Patent Application Publication Number of NationStar’s “a gallium nitride device driver chip and drive method” is CN117544152A, and its application date is November 2023.
The patent abstract shows that the invention discloses a gallium nitride device driver chip and its drive method, including the first switching module, the second switching module, a voltage conversion module and a voltage comparator.The voltage conversion module converts the first voltage inputted by the first switching module into a second voltage, the first port of the second switching module is connected to the second port of the first switching module, the second port of the second switching module is connected to the second input of the voltage comparator, and the first end of the second switching module is connected to the second input of the voltage comparator. The control terminal of the second switching module is connected to the mode switching pin of the driver chip, and the mode switching signal input from the mode switching pin controls the output terminal of the voltage comparator to output a first voltage, which drive theGallium Nitride device of the Cascode structure, or output a second voltage to drive a Gallium Nitride device of the Emode type.
Image Credit: The Website of Sky Eye Check
The gallium nitride device driver chip provided by the embodiment of the invention is compatible with both Cascode-structured gallium nitride devices and Emode-type gallium nitride devices, and there is no need to separately design the driver chip for Cascode-structured and Emode-type gallium nitride devices, which reduces the cost.
Huawei applies for Patents on “Optical Passive Modules, Optical Modules, and Communication Devices”.
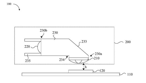
The Patent Application Publication Number of Huawei’s “Optical Passive Module, Optical Module and Communication Equipment” is CN117538996A, and its application date is August 2022.
The patent abstract shows that the embodiment of this application provided an optical passive module, optical module and communication equipment. The optical passive module comprises of a primary lens group and a secondary lens. The primary lens group includes vortex which is located on the light-intake side of optical passive module and the secondary lens is located on the light-exit side of optical passive module. The passive module provided by the embodiment of the application can reduce the mode dispersion of the VCSEL light source in the multimode optical fiber, thereby improving the transmission distance of the VCSEL light source in the multi-mode optical fiber.
Menu































































































